
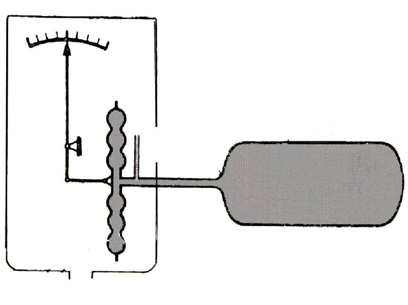
| Variometar |
| kompas |
| Visinomer |
| Brzinomer |
Novo: Poboljšajte svoju pripremu!
Sada je na našem sajtu dostupan novi PRO panel za simulacije! Evo nekih ekskluzivnih prednosti koje dobijate njegovim aktiviranjem:
Radije vežbate na pametnom telefonu? 📱 Otkrijte mobilne aplikacije.
Možete i dalje da koristite besplatnu verziju, koja vam omogućava pristup do 75% pitanja sa ograničenjem od 3 simulacije po satu.
Dostigli ste besplatan limit
Pređite na PRO verziju da biste vežbali bez ograničenja i otključali sve funkcije za potpunu pripremu.
Prelaskom na PRO dobijate pristup:
...i još mnogo toga!
📱 Ili otkrijte aplikacije za učenje i van mreže
Vaš sledeći besplatan test će biti dostupan za: 1 ora
QuizVds.it - Facebook - Kontaktirajte nas - Donacija - Politika kolačića - Politika privatnosti - Uslovi i odredbe - Partneri