1 - Uloga repnih površina je da
2 - Osobina kompasa da daje pogrešne indikacije kada je jedrilica u zaokretu je posledica vertikalnog privlačenja koje se naziva
3 - Instrument GPS (dži, pi, es) za pokazivanje podataka koristi
4 - Posmatrajući sliku br.6 odredite na koju stranu zaokreta jedrilica klizi.
question Opste znanje o vazduhoplovu-Slika br 6.webp
5 - Na slici br.1 su označeni glavni konstrukcioni delovi krila i to:
question Opste znanje o vazduhoplovu-Slika br 1.webp
6 - Torziona kutija je
7 - Okovi su elementi konstrukcije koji
8 - Instrument za beleženje pritiska koji se koristi da bi se dobio zapis o visinama na osnovu pritiska naziva se
9 - Glavna ramenjača je
10 - Šta pokazuje instrument sa metalnom kuglicom na instrument tabli.
11 - Klasifikacija instrumenata prema principu rada je zasnovana na
12 - Rebra su deo krila koja imaju zadatak da
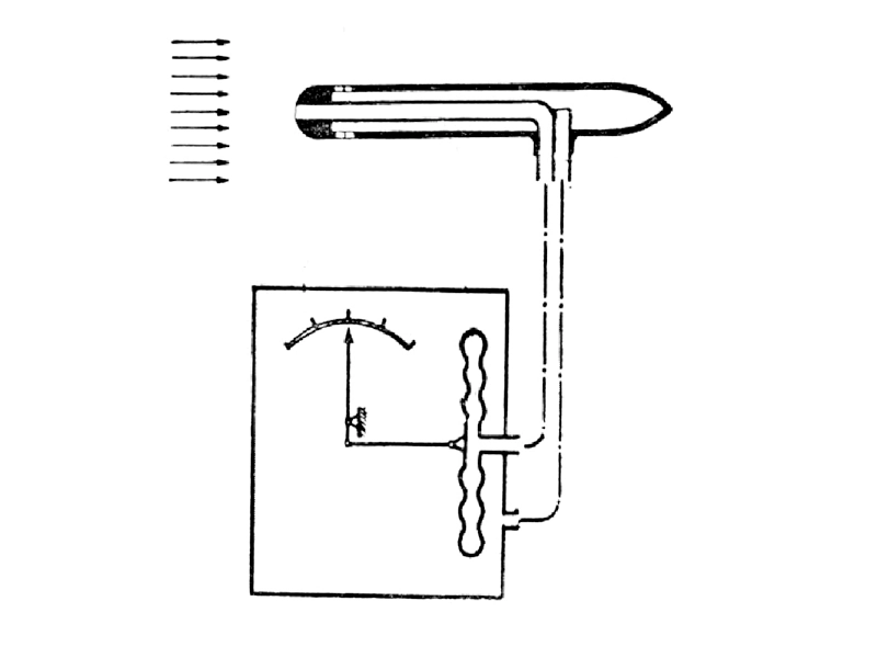
13 - Trimer ima ulogu da
14 - Na slici br.3 je šematski prikazan instrument
question Opste znanje o vazduhoplovu-Slika br 3.webp
15 - Sa koliko najmanje satelita GPS treba da pimi podatke da bi pokazao geografske koordinate
16 - Osnovni manometarski elementi instrumenata su
17 - Trup služi za:
18 - Klasifikacija instrumenata prema osnovnom mehanizmu su
19 - Klasifikacija instrumenata po nameni
20 - U kom pravcu magnetski kompas pokazuje skretanje kada se u zaokret ulazi iz pravca severa ?
21 - Kao konstruktivni materijali koriste se
22 - Sa koliko najmanje satelita GPS treba da primi podatke da bi pokazao visinu
23 - Na slici br.2 je šematski prikazan instrument
question Opste znanje o vazduhoplovu-Slika br 2.webp
24 - Žiroskopski instrumenti poseduju mehanizam koji se naziva žiroskop i koji je
25 - Primarnoj grupi instrumenata na komandnoj tabli pripadaju instrumenti
26 - Srce pitostatičkog sistema je metalni meh koji se naziva
27 - Magnetski kompas se može koristiti da bi se pratio stvarni kurs samo ako su urañene potrebne korekcije za magnetnu _______ i kompasnu _________ .
28 - Po tipu konstrukcije, trupove jedrilica delimo na
29 - Posmatrajući sliku br.7 odredite na koju stranu zaokreta jedrilica klizi.
question Opste znanje o vazduhoplovu-Slika br 7.webp
30 - Stvarna brzina jedrilice kroz vazduh se naziva
31 - Klasifikacija jedrilica se vrši prema njihovoj nameni na:
32 - Aktuelna visina jedrilice iznad terena se naziva
33 - Prema tipu strukture, konstrukcije krila možemo da podelimo na sledeće vrste
34 - Torziona ramenjača ima ulogu da
35 - Kabina jedrilice je deo konstrukcije koji služi
36 - Šta pokazuje komad vunice zalepljen na kabinu ispred pilota?
37 - Na slici br.5 je šematski prikazan instrument
question Opste znanje o vazduhoplovu-Slika br 5.webp
38 - Instrument na jedrilici koji pokazuje brzinu penjanja ili spuštanja naziva se
39 - Koje podatke može da pokaže GPS
40 - Na slici br.4 je prikazan instrument
question Opste znanje o vazduhoplovu-Slika br 4.webp